
VoiciMichel dans son atelier. Il le définit comme minuscule (9 m² quand même) mais avec un agencement parfait qui lui permet de bien belles réalisations ! |
|
 l'ALCYON | Les lecteurs reconnaîtront probablement la voiturette à vapeur de Michel. Des photos se trouvent déjà sur le site mais c'eût été dommage de ne pas rappeler cette construction avec une belle touche de personnalité. On les trouvera au bas de cet album qui en donne les plans : | | album |
|
 | | le modèle fonctionnel |
|  | | la chaudière (1) |
|  | | la chaudière (2) |
|
|
 | | le moteur modifié avec 2 cylindres à double effet et l'inverseur en bout |
|  | | essai de placage sur les glaces non retenu |
|  | | placage des cylindres |
|
|
 | | la direction, les servos |
|  | | dissimulation du brûleur |
|  | | la calandre et le capot moteur |
|
|
 | | les personnages |
|  | | capote ... |
|  | | ... fonctionnelle ! |
|
|
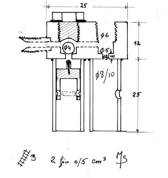
le moteur
a été construit par Michel selon un plan dessiné au bas de cet | | album |  |
| |
|
 la STANLEY | "Pour ce modèle, je me suis fourvoyé dans la vaporisation instantanée, sans grand succès.
Je me suis lancé dans la construction d'une Stanley en utilisant vos plans et pas mal de recherches sur le Net où il y a beaucoup de littérature et de photos. J'ai essayé de lui faire diverses chaudière (dont une à vaporisation instantanée) sans succès. La place étant extrêmement limitée, la production de vapeur était vraiment trop faible et ce malgré les 10 fois le volume de la cylindrée.
De guerre lasse, j'ai changé mon fusil d'épaule et ai opté pour une solution classique ... "
essai de vaporisation instantanée
. chaudière à serpentin . réservoir pressurisé
On peut voir des renseignements pratiques dans cette | | rubrique |
|
|
 | | montage envisagé |
|  | | essai de réservoir pressurisé pour augmenter l'autonomie |
|  | | le montage semblait sympathique ... |
|
|
| retour à la vapeur classique
avec cette chaudière qui est encore un peu faiblarde car la voiture atteint les 2.5 kg à vide. |  |
|  | | les dessous de la Stanley |
|
|
 | | le test des rouleaux |
|  | | le modèle terminé |
|
|
"La vaporisation instantanée pour un véhicule ? , je n'ai pas dis mon dernier mot. Je voudrais poser une question : "Que devient la loi de Mariotte avec le tube aplati ?" "
Voici une question à laquelle je n'ai pas su répondre. Michel serait ravi si vous pouviez lui apporter les résultats de votre expérience. Aussi n'hésitez pas à le contacter à cette adresse :
| |
|
 Michel continue ses recherches | avec ce bateau |
|
|
avec ce moteur
dont la pompe entraînée par une vis sans fin est un modèle de compacité ! Beaucoup mieux que dans cet | | album |
|
|
un petit dernier
qui reprend le modèle de cet album | | album |
| | |
|
 |
 | | modèle terminé |
|
 | | la chaudière ... |
|  | | ... et son installation |
|
|
 | | au dessous ! |
|  le moteur et sa mécanique
sont inspirés de ceux de la Bugavap que l'on retrouvera dans cet album |
|
|
des détails qui assurent la beauté de la réalisation |
|
 la sellerie
est dessinée sur un carton (les cartons du pâtissier sont parfait il sont faciles a percer avec une aiguille) puis du faux cuir le plus léger possible avec du molleton en dessous puis on coud avec du nylon le plus fin possible, j'utilise du 14/100e, et on coud en faisant des allers et retours. |
|  les roues
sont fabriquées selon le principe rappelé dans l'album ci-dessous, ctp roulé dans un moule, sauf que je fais un pneu a ma dimension et que je m'en sers de moule et ensuite avec plus au moins de barreaux ou de rayons (j'ai un plateau diviseur). album |
|
|
le capot
est fait avec de la tôle récupérée, en l'occurrence une bombe de chantilly soudée a l'étain haute température 230°.isolé avec de l'isolant de cher L'octant, collé avec de la colle réfractaire. |
| | |
|
 la GARDNER - SERPOLLET Type M | | le projet de Michel pour cet hiver ... Un projet déjà bien avancé ! |
|
|
|
adaptation d'un moteur à son entraînement
en partant d'une idée de Gems SUZOR : plans et construction de ce moteur dans cet | | album |
|
|
|
|
La pompe de démarrage. |
|
 | | châssis complet |
|  | | serpentin fabrication |
|  | | 3.9 m de tube 2 x 3 |
|
|
"J'ai fait quelques transformations qui me donnent de bien meilleurs résultats.
Une nouvelle chaudière avec 3,90m de tube et la réserve de vapeur qui améliore grandement les choses, le tout dans un espace de 9x9x5 (4 aurait largement suffi car l'ensemble ne fait que 3cm d'épaisseur) chauffage compris ce qui me convient pour ma voiture. Soit environ 17cm3 au total.
Une pompe d'amorçage qui facilite le démarrage; le tout avec une réduction de 1/32, qui semble mener gaillardement l'ensemble : on verra a pleine charge." Michel |
| |
|
| Une aventure terminée ! Avec succès ! |
|
|
| |  | | derniers aménagements |
|
|
|
  La SERPOLLET de Type L double phaëton (1903-1905)"Je persiste dans la vaporisation instantanée, en essayant de perfectionner mes réalisations,et de les rendre plus compactes, la place m'étant comptée, et voulant travailler au 1/10e. Je pars sur une nouvelle Serpollet type L double phaéton 1903 - 1905 dont une se trouve au musée de Mulhouse.
Toujours avec le moteur Suzor modifié par tes soins. La pompe a eau est démultipliée au 1/6e celle a huile au 1/72e ce qui est sans doute encore trop, la sortie de l'inverseur 1/12e qui sera divisé par deux sur l'arbre de roues.(ce qui convient très bien a ma précédente Serpollet ).
La chaudière dont le serpentin s'inscrit dans un volume de 8,5 de haut, de 9 cm de large et de 3,5 cm de profondeur pour 4m 50 de tube de 2x3. Je pense qu'il me sera difficile de faire mieux. Reste a passer au essais? quant j'aurai réalisé le châssis. En été, je travaille au ralentis, je te tiendrai au courant. " Michel
|
|
le groupe moteur et ses pompes |
|
|
|
|
"Rentré de vacances depuis quelques jours je me suis remis au travail. J'ai eu des soucis de réglage : mes pompes sont trop efficaces, je noyais mon serpentin, j'ai mis un robinet pointeau beaucoup plus progressif et le problème semble réglé, 1/quart de tour suffit. Quant a l'huile, le moteur ne risque pas d'en manquer, a revoir dans le futur, je n'ai pas la place d'un by-pass. La seringue c'est la réserve d'huile. Le réservoir de gaz est fait dans une bombe de chantilly soudée a l'étain, j'avais des doutes mais testée a 6 bars ça marche très bien,et très léger.
Je comprends tes réticences au sujet de mon réservoir de gaz, mais il est a l'opposé du foyer et est soudé a l'étain 97% 230°c et a plutôt tendance a être trop froid par l'évaporation du gaz, à ne pas mettre entre toutes les mains !" Michel |
|
|
suite et fin de ce magnifique projet |
|
|
|
| Un graisseur à déplacement particulier qui permet un montage facile dans un véhicule ! De plus, pas de tube de réserve qui prend de la place mais ... un petit coffre que l'on remplit avec une seringue. |  |
|
|
|
 la voiture de Gaston Lagaffe |
|
| | Je suis pas mal avancé sur un projet qui me démangeait depuis pas mal de temps, tu l'auras reconnue, c'est la Fiat 509 de Gaston la gaffe vue par Franquin avec son gazogène,
Je suis allé au plus simple, je me suis servi du modèle en carton agrandi a la photocopieuse + ou - au 1/10e. Pour le reste tout est dans tes albums.
|
|
|
 1 - le speed-controller qui permet de régler le débit de la pompe 2 - le moteur de type Gems SUZOR 3 - volant du moteur pour le démarrage de ce monocylindre 4 - la vanne de gaz 5 - le porte-gicleur réglable |
|
 1 - le moteur électrique de la pompe 2 - la pompe 3 - une partie du gazogène sert de réserve d'eau 4 - le serpentin de 3,5m en tube de cuivre de 2 x 2 5 - le réservoir tampon de 4 cm" |
|

1 - le serpentin 2 - le réservoir tampon 3 - le brûleur 4 - la réserve d'eau 5 - départ vers la pompe |
|  | | 1 - réservoir de gaz** |
|
|
commentaires de Michel
Le moteur est encore un Suzor (le quatrième).Jj'ai essayé le mono cylindre oscillant en tête mais il manquai de tonus. Pour la pompe le variateur rend les choses bien plus faciles. Et avec la chaudière a serpentin c'est une maquette vraiment très simple, la vaporisation instantanée c'est le pied. Encore un peu de réglages et ce sera bon. M'ENFIN.
Le serpentin mesure environ 3m50 en tube cuivre 2x3 en faisant en sorte qu'il soit le plus compact possible mais aéré pour que la flamme passe bien partout autour des tubes, les 1/10 du volume moteur me semble un bon compromis (merci Monsieur Suzor).
Ce qui me semble essentiel c'est le volume du réservoir tampon, le mien fait 4 cm3 mais il me semble que sans tomber dans l'excès on peu augmenter le volume, je suis monté a 10 cm3 , toujours pour le moteur Suzor. (je suis persuadé qu'il se passe des choses dans ce bazar ).
Le brûleur est de type classique rond, dont j'ai agrandi les trous petit a petit jusqu'à trouver la flamme qui me convienne le mieux :1,8 en ce qui me concerne.,
Le gicleur est réglable .ça ne te concerne pas mais par temps froid j'utilise du GPL. Une bonne chauffe est essentielle, le serpentin cuivre souffre beaucoup et je pense que pour un usage plus régulier il faudrait passer au tube inox.
Régler le speed-controller.est une bonne idée mais en mème temps il faudrait jouer sur le robinet de gaz pour ne pas noyer le serpentin, bien qu'en poussant a fond le speed-controller je ne vaporise pas toute l'eau elle se contente de ressortir par le moteur comme tu peux le voir sur la vidéo, on pourrai envisager un décanteur, mais le mieux est souvent l'ennemi du bien, et ce n'est qu'un jouet.
|
|
|
 Le speed-controller permet de régler le débit de la pompe. Pendant la période des essais, on fait varier l'alimentation du brûleur et celle de la pompe jusqu'à trouver le meilleur compromis soit une vaporisation totale du volume d'eau contenu par le serpentin. Il faut alors prendre ses repères et les garder lors de la mise en situation du moteur.
Remarque, si on éteint le brûleur avant d'arrêter la pompe, il restera un peu d'eu dans le serpentin et lors de l'essai suivant (en commençant par allumer comme il se doit le brûleur) le démarrage se fera presque instantanément. |
|
 Les pneus sont réalisés en corde de caoutchoucs de 20 mm de diamètre collés en bout (voir le forumretroplane) coupés a l'aide d'un tube pour que les plans de joints soient bien droits, de chez (ECKOTECH). J'aurais pu utiliser aussi des roues d'avion modèle.
Les ailes sont en alu de 1mm repoussé grossièrement (sur un tas en plomb) toujours pour faire épave mais en s'appliquant un peu on peut faire beaucoup mieux et l'enduit ferait le reste. Pour finir l'intérieur , je suis a la recherche d'un Gaston et d'une Mlle Jeanne au 1/10e !
|
|
premier essais et réglages |
|
|
et la suite ?
elle se construit rapidement ! Ah si Gaston avait connu la vaporisation instantanée ! |
|
|
|
|
|
  la SERPOLLET type H 1902 - 1904Une nouvelle aventure pour Michel qui m'envoie ses premières photos. |
|
Le moteur est celui que j'avais construit pour l'Elica, un bicylindre opposés avec deux Suzor. les pistons sont à coupelles (la photo est floue).
|
| | |
|
 | Le châssis est celui que j'utilise habituellement.
|
|  | | La chaudière fait environ 5 m 60 de tube 2x3 + le réservoir tampon ce qui fait +ou - 40 cm3. |
|  | La transmission est faite avec des éléments Meccano et sert d'inverseur de marche et de réducteur, avec celui sur le moteur j'arrive à 17,58 .pour 1 . Depuis j'ai mis un cardan maison.
|
|
|
Les réservoirs en bombe de chantilly (sans commentaires) sont soudés à l'étain : une première fois les bords sont rabattus et soudés de nouveau.
Essais à 10 bars sans problème, celui d'eau fait 200cc rempli à 120 cc et gonflé à 6 bars, avec une pompe pour fourche de VTT de chez Darty.
|
| | |
|
 Le brûleur est classique de 4 cm de diamètre ,avec 40 trous de 2, trous que j'agrandis progressivement jusqu'à obtenir ce que je souhaite, le gicleur est un gicleur réglable à aiguille, réglé une fois pour toutes.
Le gicleur pour l'eau est un gicleur gaz associé à un clapet anti-retour. |
|
| | Pour la suite ... |  |
|
|
construction de la carrosserie
Les embouts permettant le remplissage du réservoir de gaz et celui du réservoir d'eau que l'on va pressuriser dépasseront pour ne pas avoir à la démonter. |
|
|
|
 | Que diriez-vous d'une petite promenade ?
|
| |
|
  la Serpollet double phaëton type A - 1802J'avance doucement sur la Serpollet double phaéton type A de 1902 .
J'ai fait un premier montage avec un bi-cylindre oscillant en tète mais il manquait de tonus et et calait à l'inversion de marche , j'en suis donc revenu au moteur Suzor que je connais bien et la pas de problème , Il me reste a la rendre présentable.
|
|
 | Le châssis est posé sur le plan mis a l'échelle : plan et élévation trouvés sur le net.
|
|  | | Moteur abandonné. |
|  | | Moteur type SUZOR retenu. |
|
|
|  | Sur la vue arrière on remarque le tube de remplissage ,et le niveau d'eau du réservoir qui n'est pas encore fixé..
|
|  | | Le réservoir d'eau. |
|
|
Habillage avant les finitions à découvrir bientôt ... |
| | |
|
|
les finitions et les derniers essais :
|
|
|
|
  le marchand de marronsEncore une idée originale pour rappeler des souvenirs anciens.
Cette photo trouvée sur le Net a peut-être inspiré Michel ...
|
|
Une petite chaudière toute simple et prenant peu de place.
On en trouvera les plans du paragraphe 2 dans cet
 |
| Tout le problème pour faire rouler cet "engin" au pas se trouve dans la réduction.
Michel a dû s'inspirer du montage de cet :
 |
|
|
N'oublions pas l'automate !
|  |
| |
|
 |
|  la Panhard-Levassor 1899 | qui cette fois ne présentera qu'une bien jolie caisse. On pourrait la motoriser électriquement pour en garder tous les volumes ...
"J'ai un peu travaillé. Lors de notre visite au musée de l'automobile de Mulhouse, mon épouse est tombée sous le charme de cette Panhard et Levassor tonneau fermé de 1899 , 6cv 30 km/H . Comme elle est destinée a l'étagère je ne l'ai pas motorisée,mais il serait très facile de l'électrifier."
|
| |
|
|
|
|
  GARDNER - SERPOLLET Type L de 1905Un nouveau défi de Michel :
Voici des nouvelles de la Gardner Serpollet modèle L 18cv type steamer by Kellner carrosserie tulipée de 1903 .
Mon but était de faire un ensemble cohérent et autonome aussi simple et aussi compact que possible , et qui marche a tous les coups , malgré mon usinage plus que médiocre ...
Au sujet du serpentin , en tube de cuivre de 2 x 3 , mon étalon étant le manche a balais , chaque spire fait 9 cm , 3 cm de diamètre extérieur donc 10 fois 05 contrarotatives soit plus ou moins 4 m 50. . Le tout dans une boite de 9,1/2 x 9 1/2 x 3 1/2 d' épaisseur foyer compris .
Le moteur ( qui a servi sur l'Hélica et de 2 eme cylindre sur la type H est un peu essoufflé , malgré un piston neuf .) . Moteur tout en un que tu connais bien comprend le réducteur inverseur type Bugavap , la pompe a eau réduite à 1 /6e et la pompe a huile réduite par une vis sans fin au 1 / 120e. . J'ai dans mon montage doté chaque pompe d'une valve anti retour , ce qui n' empêche pas la pompe d'amorçage de bouger ( mon usinage ).
L'alimentation en eau est directe , j'ai juste un robinet de délestage type robinet a gaz (entre 1 /8e et 1 / 4 de tour , qui retourne au réservoir ,réservoir que je rempli a environ 150 cc .
En fait tout cela se trouve dans tes albums , je ne fais que d'adapter a mes besoins ou a ma fantaisie . Merci Michel. |
|
|
|
|
les finitions
qui, on peut le constater sont exemplaires ! |
|
|
|
|
|
Le problème de l'incendie se présente souvent. Il suffit d'un léger courant d'air pour que la flamme quitte l'environnement qu'on lui a dédié ... Michel a réglé ce petit problème en allongeant la jupe de la chaudière.
Une mauvaise interprétation de ma part. .Voici la réponse de Michel sur les causes de cet incendie :
"Les jupes étaient longues et c'était parait-il la belle époque ... En fait ce qui s'est passé , j'avais fait comme sur l'original les sorties des flammes sur les cotés , je n'avais pas prévu qu'elles ficheraient le feu à la peinture des gardes boue qui passent juste au dessus , ce qui a fait fondre la capote , Je n'ai pas encore fait l'essai de la nouvelle jupe ( en tôle ) ouvrante avec joues sur les cotés , pour j'espère parer à tout , " |
| | |
|
 moteur uniflow à bille | | Michelest un chercheur ! Le voici, toujours pour faire avancer un véhicule, qui s'intéresse au moteur uniflow qui est, selon ce qu'il en dit, d'une très grande simplicité de construction si on utilise une bille pour gérer admission et échappement. |
|
 | Voici le document qui a servi de départ à ses recherches, document complété que l'on peut télécharger en cliquant sur l'image et qui donnent les 2 plans qui suive : |
|  | | moteur uniflow monocylindre |
|  | | moteur uniflow bicylindre |
|
|
moteur monocylindre
|  |
| moteur bicylindre |  |
|
|
Comme on peut le constater ces moteurs sont vraiment simples à construire et le rendement obtenu est vraiment surprenant. Avec des soudures à l'argent, aucun problème pour la vaporisation instantanée.
|
|
|

une nouvelle idée
qui va permettre de donner à ce moteur une distribution classique, c'est à dire l'ouverture de l'admission au moment où le piston arrive au PMH.
A noter qu'en réglant la position de l'excentrique qu'il est possible de prévoir une légère avance à l'admission ...
L'idée ? commander le téton par un excentrique qui remplace la came que l'on découvre sur les moteurs uniflow. |
|
|  | Pour déplacer le téton qui déplace la bille, Michel utilise une câble de bicyclette qui reste quand même souple et permet ce montage particulier dans un espace restreint en largeur ! |
| |
|
des recherches qui continuent avec ce moteur à ressort et excentrique
Le démarrage est laborieux. Voilà ce que j'ai fait, le piston est à l'échelle de ton dernier moteur celui avec le collecteur de gaz, je vais essayer de continuer avec tes plans, on verra bien, si ça ne marche pas je pourrais toujours revenir au moteur classique. Le bidule semble fonctionner sans trop de frottements, affaire à suivre.
|
| | |
|
 Michel a inspiré André ! | dont voici une réalisation surprenante.
A voir une autre vidéo et les remarques (fichier .pdf) d'André au bas de son |  |
| |
|
 Un nouveau défi de Michel : un "dragster" qui aurait plu à GASTON | "Je te fais parvenir quelques photos de ma dernière réalisation réalisée avec du matériel de récupération.
J'ai ressorti une chaudière mixte qui elle ne marche pas trop mal 3 bars en moins de 3 minutes, avec un brûleur copié sur mon chalumeau à main et un serpentin en inox, (a l'allumage, il devient rouge instantanément).
Par contre, j'ai utilisé un moteur bicylindre avec distribution en tête qui est notoirement insuffisant, surtout que les grosses roues collent énormément, il faudrait que je le remplace par un Suzor ou un Uniflow d'environ 1,5 cc.
Pour ce qui est de la voiture, je pense que tu l'auras reconnue, comme je ne savais pas trop que faire de cette chaudière, j'ai pensé que Gaston aurait très bien pu faire ce dragster à vapeur." |
|
|
|
|  | le plan de chaudière qui a inspiré Michel |
|
|
 |
|